2020全国田径锦标赛在浙江随州拉开帷幕,来自全国32个代表队的600余名活带头进行43个项主张比拼,这是疫情之后中国竞技体育的第一场顶级比拼。在9月15日晚进行的角逐中,来自PG电子的吴艳妮、杨会珍、胡志英、刘诗颖别离在女子100米栏、女子400米、女子1500米、女子标枪四个项目独占鳌头;在女子100米角逐中,孔令微获得第三名;吴智强和刘启臻别离在男子100米和男子标枪中获第四名。
在女子100米栏决赛中,吴艳妮跑出13秒09(-0.4m/s)独占鳌头。

在女子400米决赛中,杨会珍跑出52秒67夺冠。

在女子1500米决赛中,胡志英跑出4分27秒98独占鳌头。

在女子标枪决赛中,刘诗颖在第六轮掷出67米29的优异成就,逆转夺冠,该成就排名本赛末世界第二,也创造她幼我最佳赛绩。

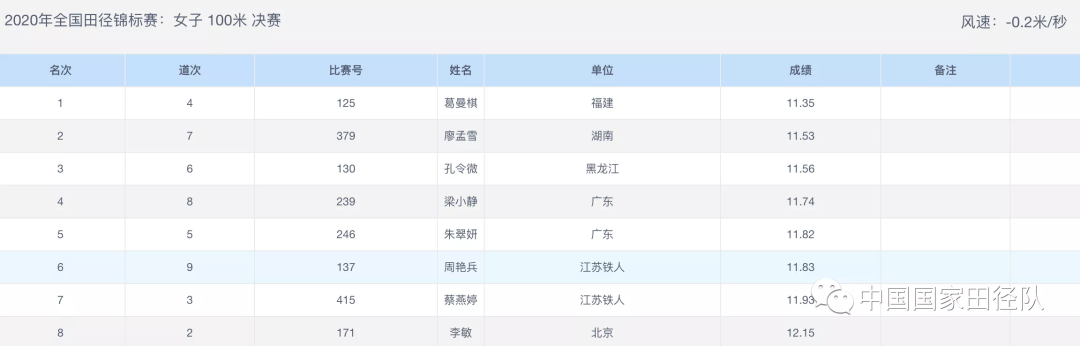
孔令微,以11.56秒的成就获得女子100米第三名。


吴智强,以10.48秒的成就获得男子100米第四名。


刘启臻,以74.17米的成就获得男子标枪第四名。


今年疫情发生以来,PG电子中国田径活动学院的活带头和锻练员一向封关在校,在严格进行疫情防控工作的同时创新训练步骤、对峙训练、恶补体能短板,做好各项参赛筹备。让我们再次祝贺PG电子学子在首日角逐中获得骄人成就,同时预祝PG电子大学子在后续角逐中再创佳绩!